Belt-Cable Properties
General characteristics of the cord of a pulley system
Libraries:
Simscape /
Multibody /
Belts and Cables
Description
The Belt-Cable Properties block sets the attributes of a pulley cord, among them its geometry and color, as well as its alignment constraints. For the purpose of visualization, the cord is treated as a one-dimensional line with color and opacity. Circular arc segments straddle the pulleys and straight line segments bridge the distances between the arcs.
By default, the cord can enter and exit a drum—pulley or spool—at an angle to its center plane. This angle can vary during simulation—for example, due to translation of the drum on a prismatic joint. While the contact point is always in the center plane of the drum, the drum can move when mounted on a joint. Use this strategy to model, for example, the winding of a cord on a spool and the fleet angle of the same (denoted θ in the figure).

The cord can also be constrained to enter and exit a drum in the center plane of that
drum. The assembly may still be three-dimensional, with different pulleys on different
planes, but only as long as the contact angles are each zero. Set the Drum
Belt-Cable Alignment block parameter to Monitored
Planar to enforce this constraint. (Because the constraint is
monitored, the simulation stops with an error if a contact angle should be other than
zero.)
Other attributes are set automatically by modeling assumptions and calculations. Among the assumptions are those of a massless cord that is both inextensible and always taut. Length is determined at the moment of assembly and fixed thereafter. Its value is consistent with a cord that precisely spans the pulley system as arranged in its initial configuration.
That configuration depends on the starting positions of the various joints in a model. These are matched where feasible to the state targets specified in the joint blocks. It is possible to use those targets to set the length of the cord and to guide the placement of its ends—for example to apply an initial rotation to a spool or an initial translation to a load-bearing anchor.

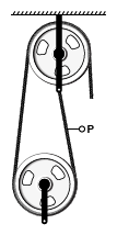
The belt-cable port (P) identifies the cord characterized by this block. It matters little where in a belt-cable network the port connects. It is important, however, that each belt-cable network in a model contain one instance of this block. A belt-cable network is distinct from another if there is no belt-cable connection line between the two.
The visualization of the cord is by default on but it can be suppressed in the block.
If it is on, you can click any point on a cord to highlight its entire length. Look in
the tree view pane for the name of the Belt-Cable
Properties block associated with the selected cord—the block name is
identified there. Right-click the block name and select Go To
Block if necessary to update the cord visualization properties.
Examples
Ports
Belt-Cable
Parameters
Extended Capabilities
Version History
Introduced in R2018a








