SM AC7C
Discrete- or continuous-time synchronous machine AC7C or AC7B excitation system including an automatic voltage regulator and an exciter
Libraries:
Simscape /
Electrical /
Control /
SM Control
Description
The SM AC7C block implements a synchronous machine (SM) AC7C excitation system model in conformance with IEEE Std 421.5-2016 [1]. You can also use the SM AC7C block to implement an AC7B model from a previous version of IEEE Std 421.5 [2]. For more information about implementing an AC7B model, see AC7B Model.
Use this block to model the control and regulation of the field voltage of a synchronous machine that operates as a generator using an AC rotating exciter.
You can switch between continuous and discrete implementations of the block by using the
Sample time (-1 for inherited) parameter. To configure the
integrator for continuous time, set the Sample time (-1 for
inherited) property to 0. To configure the integrator
for discrete time, set the Sample time (-1 for inherited) property
to a positive, nonzero value, or to -1 to inherit the sample time
from an upstream block.
The SM AC7C block is made up of five major components:
The Current Compensator modifies the measured terminal voltage as a function of the terminal current.
The Voltage Measurement Transducer simulates the dynamics of a terminal voltage transducer using a low-pass filter.
The Excitation Control Elements component compares the voltage transducer output with a terminal voltage reference to produce a voltage error. This voltage error is then passed through a voltage regulator to produce the exciter field voltage.
The AC Rotating Exciter models the AC rotating exciter, which produces a field voltage that is applied to the controlled synchronous machine. The block also feeds the exciter field current (which is given the standard symbol VFE) back to the excitation system.
The Power Source and Self-excitation models the power source for the controlled rectifier when it is independent from the terminal voltage. It also allows the representation of self-excitation for the exciter.
This diagram shows the overall structure of the AC7C excitation system model:

In the diagram:
VT and IT are the measured terminal voltage and current of the synchronous machine.
VC1 is the current-compensated terminal voltage.
VC is the filtered, current-compensated terminal voltage.
VREF is the reference terminal voltage.
VS is the power system stabilizer voltage.
SW1 and SW2 are the user-selected power source switches for the controlled rectifier.
VB is the exciter field voltage.
EFE and VFE are the exciter field voltage and current, respectively.
EFD and IFD are the field voltage and current, respectively.
The following sections describe each of the major parts of the block in detail.
Current Compensator and Voltage Measurement Transducer
The current compensator is modeled as:
where:
RC is the load compensation resistance.
XC is the load compensation reactance.
The voltage measurement transducer is implemented as a Low-Pass Filter block with time constant TR. Refer to the documentation for this block for the discrete and continuous implementations.
Excitation Control Elements
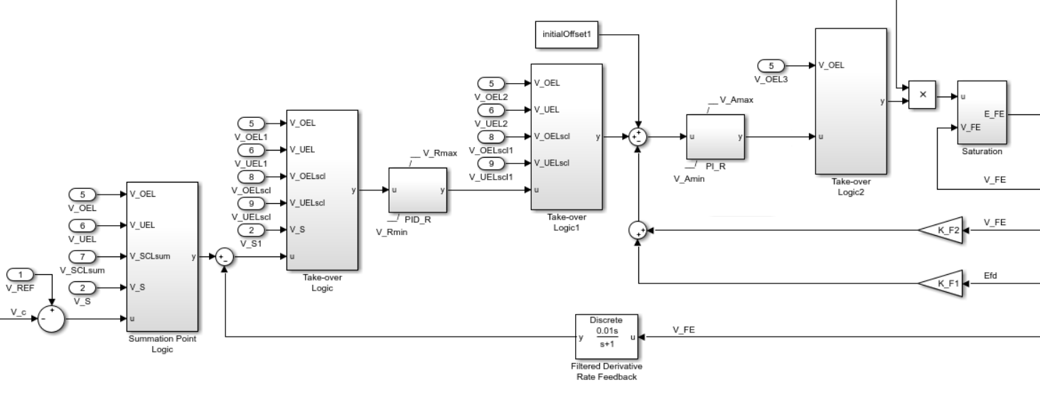
This diagram illustrates the overall structure of the excitation control elements:

In the diagram:
The Summation Point Logic subsystem models the summation point input location for the overexcitation limiter (OEL), underexcitation limiter (UEL), stator current limiter (SCL), and the power switch selector (V_S) voltages. For more information about using limiters with this block, see Field Current Limiters.
There are three Take-over Logic subsystems. They model the take-over point input locations for the OEL, UEL, SCL and PSS voltages. For more information about using limiters with this block, see Field Current Limiters.
The PID_R subsystem models a PID controller that functions as a control structure for the automatic voltage regulator. The minimum and maximum anti-windup saturation limits for the block are VRmin and VRmax, respectively.
The PI_R subsystem models a PI controller that functions as a control structure for the field current regulator. The minimum and maximum anti-windup saturation limits for the block are VAmin and VAmax, respectively.
In case of self-excitation, with a nonzero KR and the Power source selector SW2 parameter set to
Position B: do not use variable V_B, the voltage regulator power is derived from the exciter output voltage. The voltage regulator command signal is multiplied by the exciter output voltage, EFD, times KR. For more information about the user-selected logical switches for the power source of the controlled rectifier, see Power Source and Self-Excitation.KF1 and KF2 model a high-bandwidth regulator inner loop that regulates the generator field or exciting current.
The Filtered Derivative block models the rate feedback path for the stabilization of the excitation system if the automatic voltage regulator does not have a derivative term. Here, KF3 and TF are the gain and time constants of this system, respectively. Refer to the documentation for the Filtered Derivative block for the discrete and continuous implementations.
-K_L*VFE and inf are the minimum and maximum saturation limits for the output exciter field voltage EFE.
The initialOffset1 Constant block ensures the simulation can start from a steady state. The SM AC7C block calculates this value by using saturation and exciter parameters, including the exciter field current feedback gain, the generator field voltage feedback gain, and the initial field voltage.
Field Current Limiters
You can use various field current limiters to modify the output of the voltage regulator under unsafe operating conditions:
Use an overexcitation limiter to prevent overheating of the field winding due to excessive field current demand.
Use an underexcitation limiter to boost field excitation when it is too low, which risks desynchronization.
Use a stator current limiter to prevent overheating of the stator windings due to excessive current.
Attach the output of any of these limiters at one of these points:
The summation point as part of the automatic voltage regulator (AVR) feedback loop
The take-over point to override the usual behavior of the AVR
If you are using the stator current limiter at the summation point, use the single input VSCLsum. If you are using the stator current limiter at the take-over point, use both the overexcitation input, VOELscl, and the underexcitation input, VUELscl.
AC Rotating Exciter
This diagram shows the structure of the AC rotating exciter:

In the diagram:
The exciter field current VFE is the sum of three signals:
The nonlinear function Vx models the saturation of the exciter output voltage.
The proportional term KE models the linear relationship between the exciter output voltage and the exciter field current.
The subsystem models the demagnetizing effect of the load current on the exciter output voltage using the demagnetization constant KD in the feedback loop.
The Integrator with variable limits subsystem integrates the difference between EFE and VFE to generate the exciter alternator output voltage VE. TE is the time constant for this process.
The nonlinear function FEX models the exciter output voltage drop from the rectifier regulation. This function depends on the constant KC, which itself is a function of commutating reactance.
The parameters VEmin and VFEmax model the lower and upper limits of the rotating exciter.
Power Source and Self-Excitation
It is possible to use different power source representations for the controlled rectifier
by selecting the relevant option in the Power source selector
SW1 parameter. The power source for the controlled rectifier can be
either derived from the terminal voltage (Position A: power source
derived from terminal voltage) or it can be independent of the
terminal voltage (Position B: power source independent from the
terminal conditions). Note that this switch is dependent on the
state of the second logical switch.
The second logical switch, Power source selector SW2, determines
whether the exciter employs self-excitation or not. The exciter is self-excited if
the Power source selector SW2 parameter is set to
Position B: do not use variable V_B, as the model
parameters associated with the variable VB
do not impact the simulation.

AC7B Model
You can represent existing AC7B excitation systems using the AC7C model. The AC7C model introduced additional options for the PSS, OEL, UEL, and SCL input locations. The model also includes additional flexibility in the representation of the rotating exciter. To implement an AC7B model using the SM AC7C block, set the parameters to the values shown in this table.
| Block Parameter | Parameter Value |
|---|---|
| Alternate PSS input locations (V_S) | Voltage error calculation |
| Alternate OEL input locations (V_OEL) | Unused |
| Alternate UEL input locations (V_UEL) | Unused or Summation
point at voltage error |
| Alternate SCL input locations (V_SCL) | Unused |
| Maximum exciter field current limit reference, V_FEmax (pu) | 99 |
| Potential circuit phase angle (degrees) | 0 |
| Potential circuit (current) gain coefficient, K_I (pu) | 0 |
| Reactance associated with potential source, X_L (pu) | 0 |
| Rectifier loading factor proportional to commutating reactance, K_C1 (pu) | 0 |
| Power source selector SW1 | Position A: power source derived from terminal
voltage |
| Power source selector SW2 | Position A: use variable
V_B |
Ports
Input
Output
Parameters
References
[1] “IEEE Recommended Practice for Excitation System Models for Power System Stability Studies.” IEEE Std 421.5-2016 (Revision of IEEE Std 421.5-2005), August 2016, 1–207. https://doi.org/10.1109/IEEESTD.2016.7553421.
[2] “IEEE Recommended Practice for Excitation System Models for Power System Stability Studies.” IEEE Std 421.5-2005 (Revision of IEEE Std 421.5-1992), April 2006, 1–93. https://doi.org/10.1109/IEEESTD.2006.99499.
Extended Capabilities
Version History
Introduced in R2020a
